证券日报网讯 3月19日,旭升集团在互动平台回答投资者提问时表示,目前公司已与多家海内外客户建立合作关系,新兴业务推进顺利。 (文章来源:证券日报)...
-
发布了文章 2026-03-19
旭升集团:目前公司已与多家海内外客户建立合作关系
-
发布了文章 2026-03-04
分析师表示,油市震荡对新兴市场的影响可能不止于通胀
分析师警告称,伊朗战争及其将导致的能源成本飙升,将对新兴市场产生重大影响。这包括对货币、资本流动和对外收支平衡的压力。 摩根大通和伯恩斯坦等券商预计,如果冲突持续,布伦特原油价格将“突破每桶100美元大关”。德黑兰已...
-
发布了文章 2026-01-22
中航机载:公司积极拓展航天领域业务
证券日报网讯1月21日,中航机载在互动平台回答投资者提问时表示,公司基于在航空电子、飞行控制、航空机电领域技术优势,积极拓展航天领域业务。...
-
发布了文章 2026-01-21
韩国将免除金融机构外汇稳定税六个月,以促进美元供应
韩国规划和预算部周三表示,作为政府促进美元供应举措的一部分,银行及其他金融机构将暂时免交外汇稳定税,直到6月份。 根据韩国规划和预算部的说法,这项为期六个月的措施将允许金融机构免这项缴特别税。该豁免将追溯至1月初生效...
-
发布了文章 2025-12-31
期货“工具箱”再添新场景 国内首单冷链运价场外期权落地河南
期货与衍生品市场正将其风险管理的功能作用,逐步从传统的大宗商品领域延伸至现代物流的毛细血管中。近日,经向监管部门及中国期货业协会备案,由中粮期货设计,挂钩郑州商品交易所编制的冷链物流运价指数的场外期权产品,在河南华鼎...
-
发布了文章 2025-12-29
视频|马斯克为什么总能赢?红杉资本押注马斯克的三大逻辑
炒股就看金麒麟分析师研报,权威,专业,及时,全面,助您挖掘潜力主题机会! 来源:本元财经...
-
发布了文章 2025-12-01
当选择成为难题:天弘指数的“解决方案”转型
炒股就看金麒麟分析师研报,权威,专业,及时,全面,助您挖掘潜力主题机会! 成都的老股民王先生近期想转场到ETF,来分散一下风险,但面对证券APP里各式各样的ETF,他完全不知道该买哪只,“许多甚至连名称都一模一样。”...
-
发布了文章 2025-11-18
看美股实时行情,就上新浪财经App——免费、快、全的智能投资首选
在全球资本市场日益互联互通的今天,美国股市以其制度成熟、标的丰富、流动性强等优势,持续吸引着越来越多中国投资者的目光。无论是追踪苹果、微软、英伟达等科技巨头的股价波动,还是布局新能源、生物医药、人工智能等前沿赛道,掌握第...
-
发布了文章 2025-11-12
投资者现认为部分企业债券比政府债券更安全
在规模达 150 万亿美元的全球债券市场中,投资者正逐渐得出一个结论:部分企业的投资安全性甚至高于最具实力的政府。 自疫情时期以来,企业董事会的高管们通过精简预算、降低整体负债,应对了利率上升的影响。与此同时,富裕国...
-
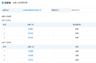
发布了文章 2025-07-01
鲁花集团更名完成股改:注册资本增至20亿,宫兆海等退出监事会
来源:山东财经报道 天眼查显示,6月30日,中国食用油龙头企业山东鲁花集团有限公司(下称“鲁花集团”)完成股改,公司名称变更为山东鲁花集团股份有限公司,注册资本从约10.91亿元增至20亿元,同时宫兆海、辛旭峰、宫...
-
发布了文章 2025-06-13
波音股价一度下跌5.9% 印度航空一架客机坠毁
相关新闻:印度一波音787梦想客机坠毁:机上242人全部遇难 地面也有伤亡 周四,一架从艾哈迈达巴德飞往伦敦盖特威克机场的印度航空波音787梦想客机起飞后不久坠毁,波音股价一度下跌5.9%。...
-
发布了文章 2025-06-03
易天股份:公司主要产品可广泛应用于5G光通信模块组装、消费类电子产品显示器件的生产
证券日报网讯易天股份6月3日在互动平台回答投资者提问时表示,公司主要产品类别包括LCD显示设备、柔性OLED显示设备、VR/AR/MR显示设备、Mini/MicroLED设备、传统封装设备及先进封装设备,可广泛应用于5G光...
-
发布了文章 2025-05-24
美国债市:国债大多小幅走高 回吐特朗普关税威胁引发的大部分涨幅
在周五因假期因素而缩短的这个交易日,美国国债大多收盘小幅上涨,收益率摆脱了美国总统特朗普对欧盟和苹果公司发出关税威胁后创下的盘中低点。随着市场出现卖盘、美国股指跌幅收窄,收益率盘中呈现有序反弹。 在纽约时间下午2点这...
-
发布了文章 2025-05-12
青岛啤酒高端化遇挫净利失速 姜宗祥6.65亿跨界饮黄酒前途未卜
长江商报消息 ●长江商报记者 沈右荣 “小便门”风波之后,国内啤酒头部企业青岛啤酒(600600.SH,00168.HK)跨界黄酒领域赌未来。 5月7日晚,青岛啤酒发布公告,公司拟收购山东即墨黄酒厂有限公司(“即...
-
发布了文章 2025-05-06
西牛证券:重申速腾聚创“买入”评级 目标价43.50港元
西牛证券发布研报称,速腾聚创(02498)2024年收入同比增长47.2%,达到16.5亿元人民币,其中93.0%的收入来自应用于ADAS、机器人以及其他应用的激光雷达销售,集团2024年的毛利率显著改善至17.2%。...
-
发布了文章 2025-04-08
德琪医药-B拟进行市场内股份购回
德琪医药-B(06996)发布公告,公司董事会谨此宣布,其有意行使根据本公司股东于2024年6月14日举行的本公司股东周年大会上通过的决议案授予董事会的一般授权项下的权力,以购回至多6748.89万股本公司股份,即于股...
-
发布了文章 2025-04-03
现货黄金周三涨超0.7%,6月期金一度突破3200美元
周三(4月2日)纽约尾盘,现货黄金涨0.72%,报3135.76美元/盎司,北京时间04:14跳水至3105.23美元刷新日高、随后在04:29涨至3143.49美元。 COMEX黄金期货6月合约涨1.41%,报31...
-
发布了文章 2024-10-24
电动车新规7月实施背景(电动车新规是什么时候发布的)
今天给各位分享电动车新规7月实施背景的知识,其中也会对电动车新规是什么时候发布的进行解释,如果能碰巧解决你现在面临的问题,别忘了关注本站,现在开始吧!本文目录一览: 1、2023年7月1日起对电动车有什么新规...
-
发布了文章 2024-10-14
锂离子电池正极材料的研究进展(锂离子电池正极材料原理性能与生产工艺)
今天给各位分享锂离子电池正极材料的研究进展的知识,其中也会对锂离子电池正极材料原理性能与生产工艺进行解释,如果能碰巧解决你现在面临的问题,别忘了关注本站,现在开始吧!本文目录一览: 1、[三元材料]锂离子电池三元正极材料前驱...
没有更多内容











