文|新浪财经上海站 十里 在A股公司中,长期不减持往往意味着一种隐性的“共识”。而当这种共识被打破,变化往往不会只停留在股东层面。...
-
发布了文章 2026-04-01
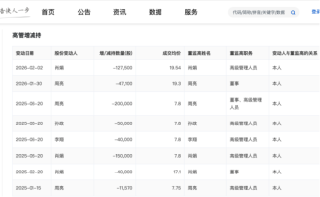
八年未减持终结,好太太侯鹏德套现2.74亿,总经理周亮、董秘李翔等多位高管减持 | 长三角资本局
-
发布了文章 2026-03-30
300736,筹划控制权变更,明起停牌
3月29日,百邦科技(300736)公告称,公司控股股东达安世纪、悦华众城及实际控制人刘铁峰正在筹划公司控制权变更相关事宜,该事项可能导致公司控股股东及实控人发生变更。经向深交所申请,公司股票自2026年3月30日开市起停牌...
-
发布了文章 2026-02-21
泽连斯基:日内瓦会谈在领土问题上未取得进展
乌克兰总统泽连斯基告诉记者,在本周的日内瓦谈判中,乌克兰谈判代表团在解决与俄罗斯的领土分歧方面未取得任何进展。 泽连斯基表示,他周五同乌克兰谈判代表进行了会谈。 日内瓦谈判中,各方一致同意如果和平协议达成,美国将...
-
发布了文章 2026-02-12
关联收购难掩经营困局,中化国际三年累亏超60亿元
炒股就看金麒麟分析师研报,权威,专业,及时,全面,助您挖掘潜力主题机会! 来源:证券之星 2月10日,中化国际(600500.SH)披露了《发行股份购买资产暨关联交易预案(修订稿)》,计划通过发行股份的方式,向关...
-
发布了文章 2026-01-27
商品涨价榜出炉,这些受益股业绩有望暴增(附名单)
炒股就看金麒麟分析师研报,权威,专业,及时,全面,助您挖掘潜力主题机会! 涨价周期已至? 自1月23日以来,冬季风暴横扫美国多地,天然气价格迅猛上涨,引发市场对能源供应的高度关注。此轮暴风雪严重干扰美国本土能源的...
-
发布了文章 2026-01-16
中国智能科技遭马洪顺减持327.6万股 每股均价约1.42港元
香港联交所最新资料显示,1月12日,马洪顺减持中国智能科技(00464)327.6万股,每股均价1.422港元,总金额约为465.85万港元。减持后最新持股数目为6698.8万股,最新持股比例为8.86%。...
-
发布了文章 2026-01-13
FDA放宽细胞与基因疗法CMC要求
美国食品药品监督管理局(FDA)提出在化学、生产和控制(chemistry, manufacturing and control,CMC)方面给予细胞与基因疗法更大灵活性,这对CRISPR Therapeutics(CR...
-
发布了文章 2025-12-31
富瀚微:公司有产品应用于民用无人机领域
郑重声明:东方财富发布此内容旨在传播更多信息,与本站立场无关,不构成投资建议。据此操作,风险自担。...
-
发布了文章 2025-12-20
罔顾民众反对,密歇根州批准DTE为大型AI数据中心供电的协议
DTE能源公司(DTE)周五早盘下跌0.8%。尽管当地居民出于电价上涨和环境破坏等理由表示反对,但美国密歇根州监管机构仍然批准了该公司的单方面协议,允许其向与甲骨文和OpenAI相关的Saline镇超大规模数据中心园区提供1...
-
发布了文章 2025-12-18
中科蓝讯:公司将继续深化与国内外头部客户的合作
证券日报网讯 12月18日,中科蓝讯在互动平台回答投资者提问时表示,公司围绕“AI赋能、技术领先、产品多元、市场全球化”的战略定位,持续加大研发投入,2025年推出BT897X、BT891X、AB573X芯片,保持在低功耗...
-
发布了文章 2025-12-09
瑞银预测:美光传统内存DDR毛利率将首次超过HBM
华尔街见闻 瑞银认为,随着行业产能大规模转向HBM,传统DRAM市场供应持续收紧,而需求保持稳健,供需错配推动定价能力显著增强。2026年第二季度美光传统DRAM毛利率预计达67%,首次超越HBM的62%。此后这一优...
-
发布了文章 2025-12-08
影视院线板块走高,博纳影业涨停
每经AI快讯,影视院线板块走高,博纳影业涨停,慈文传媒、北京文化、奥飞娱乐、横店影视、万达电影等跟涨。...
-
发布了文章 2025-06-30
IPO大消息!荣耀启动上市,“影子股”曝光
近期,一级市场回暖迹象明显。 荣耀启动上市辅导 近日,备受市场关注的荣耀终端股份有限公司(简称“荣耀”)上市传来最新进展。根据中国证监会网站披露,6月26日荣耀取得上市辅导备案,中信证券担任辅导机构。...
-
发布了文章 2025-06-05
二十五只股票索赔胜诉,受损股民还可索赔
根据最高人民法院虚假陈述司法解释,上市公司、实控人等因证券虚假陈述行为导致投资者权益受损,投资者可以依法起诉索赔,索赔范围包括投资差额损失、佣金和印花税损失。根据《证券法》,操纵证券市场受损投资者可依法索赔。 曾代理...
-
发布了文章 2025-05-17
奋达科技及相关责任人因实控人资金占用未及时披露等问题被警示
登录新浪财经APP 搜索【信披】查看更多考评等级 5月16日,奋达科技(002681)发布公告,公司及相关人员近日收到深圳证监局下发的《决定书》,因存在实控人资金占用未及时披露及回购股份费用财务核算不规范的问题,受到警示函的...
-
发布了文章 2025-05-09
索宝蛋白:5月15日将举办2024年年度暨2025年第一季度业绩说明会
证券日报网讯5月9日晚间,索宝蛋白发布公告称,公司将于2025年5月15日(星期四 16:30—17:30在“价值在线”以网络互动方式举办2024年年度暨2025年第一季度业绩说明会。...
-
发布了文章 2025-04-20
胡塞武装危矣?8万也门民兵地面强攻,美方轰炸愈发凶猛
中新网4月20日电(钟新军)据美国《华尔街日报》网站近日报道,美国和也门官员表示,也门亲政府部队正计划对胡塞武装发动大规模地面攻势。 也门政府想趁机反攻 中东智库海湾研究中心负责人萨格尔透露,得到国际社会承认的也...
-
发布了文章 2025-04-10
亚马逊CEO:预计卖家或将部分关税成本转嫁给消费者
亚马逊首席执行官Andy Jassy表示,这家电商巨头将尽力保持价格稳定,但在线卖家可能会将部分关税成本转嫁给消费者。 “我们会关注所有可能影响消费者和客户的因素,”Jassy周四接受采访时表示。“很难预判会发生什么...
-
发布了文章 2025-03-19
高盛:予腾讯音乐-SW目标价52.6港元 维持“买入”评级
高盛发布研报称,对腾讯音乐-SW(01698)的12个月目标价为52.6港元,维持“买入”评级。该行称,集团毛利率同比提升5个百分点,环比提升1个百分点,达到43.6%(高盛预期为42.9%),营业利润率同比提升8个百...
-
发布了文章 2025-03-18
深夜发布!啄木鸟公布整改情况:已确认8655个争议订单
3月17日,啄木鸟家庭维修发布整改进度公示:截至3月17日18:00,已完成审核并核实确认8655个争议订单,针对其中的不合理收费,已完成退款、费用优化及补偿。已完成88个产品、6758个服务项价格整理。 3月27日...










